网络代理详解
我们日常生活中总是会听到或者使用到我们的网络代理服务,最常见的就是游戏加速器了。比如我之前喜欢玩LOL,就想去台服玩,可是台服锁区,除了港澳台的原生网络IP才可以玩,所以这就需要我们使用游戏加速器,开了加速器以后一般就可以正常游戏了。这个里面使用的根本技术就是网络代理,即在服务端和客户端之间无法通过网络直连实现互相访问的情况在,使用一个中间服务器做桥,这个中间服务器需要能够同时与服务端、客户端进行直接的网络通信。(医院服务器-堡垒机-VPN-我们的电脑,这之间本质上也就是网络代理,而且为了网络安全中间有两座桥做安全认证)

这篇教程我打算分为几部分:1、常见基础网络代理协议搭建。2、常见平台代理的使用。3、进阶网络穿透。
1、常见基础网络代理协议搭建
目前,市面上常用的网络代理协议的服务基本都是基于Linux系统搭建的,所以这里我默认大家都已经掌握了基本Linux操作命令,不做特殊讲解,如有需要单独写一篇。
常见协议:Vmess、VLESS、Relay、Socket5、HTTP/S、Trojan、Hysteria2等等。这里我主要会选择Trojan、和Hysteria2的搭建进行说明,原因很简单,每个不同的协议都有自己的优势,选择Trojan是因为几乎所有的平台客户端都对Trojan有比较好的兼容可用性,Hysteria2的优势在对于恶劣的网络环境依旧可以有一个比较不错的网络代理效果。
正片开始
搭建任何服务之前,我们都需要做好的准备工作--有一台独立的VPS、获取管理员权限、进入命令行、等待输入命令。如果新手的话可以配合一些可视化服务器管理工具如宝塔、1panel等,根据个人经验,我推荐ubuntu22.02、centos7这两个常用发行版系统,并不是说其他的系统不能用,只是需要个人去处理更多系统环境导致的问题。
现在我默认大家已经通过ssh登录到了管理员后台,不出意外的话默认的到了root目录下

Trojan
1、首先用命令下载好我已经处理好的脚本。
wget https://by.paddypan.cn/trojan-go.sh

2、新建两个空文件trojan-go.key、trojan-go.pem,用来后续存放域名证书(域名非必须)。如果仅用于第一次学习,可以不使用域名证书,这一步的目的是通过SSL让你的代理流量进行加密,防止一些信息泄露。但是我写的脚本有校验这两个文件,所有空文件名也得有。
2024-06-07更新:验证发现目前trojan-go服务更新后,启动时已经自动开启了SSL校验。也就是空白文件是无法通过校验的,需要使用解析的域名去申请一个SSL证书(网上一般都有免费的证书申请方式),然后即可继续下面的步骤。
3、正常情况下此时同级目录应该是有这三个文件了

但是此时如果直接执行脚本./trojan-go.sh会报错没有权限

4、所以我们需要先给这个脚本权限:chmod +x trojan-go.sh

5、然后我们再次执行./trojan-go.sh,就可以进入脚本主界面了。

6、这里推荐+WebService的方案,可以让流量更加混淆防止监测。

7、直接y,然后输入你的域名(没有域名输入服务器公网IP)

8、密码随意并且可以设置多组密码可提供给不同人使用分别监控不同人使用流量的情况。这里不过多赘述。

9、输入端口的时候需要注意最好不要头铁使用443,最好选一个五位的随机端口自己需要记住。

10、这里的路径为WebService的混淆路径你可以输入 /123qwe 或者直接回车就会随机一个路径,这个也是要记住的。

11、这里建议直接选1静态伪装、因为实测你如果反代到其他网站上反而容易被封IP或端口。


12、这两个无所谓,一般我都会选择n。然后回车就会开始安装环境并自动配置。

13、如果是纯净系统没有安装过一些互斥的环境,不出意外的话就会正常开启服务并提示你是否正常运行。至此,服务端安装完成,但是任然有地方是需要注意的。1、防火墙配置,一般云服务器都会有两层防火墙,一个运营商防火墙,一个本机防火墙,两个防火墙都需要把这个对应端口打开才可以。2、上面的配置信息需要记录因为客户端使用的时候需要填的,一般我会把配置写在我的网站上然后如果有更新可以全平台一键更新。3、当然安装完第一件事需要测试一下端口通不通咯一般Windows平台可以在Windows功能里加上telnet客户端,然后cmd去测一下端口这里填写服务器的IP和之前配置的端口

如果正常情况下通的话就会进入黑屏,然后关闭就好了。

这样就是不通,需要检测服务是否在运行、各个防火墙是否已经放行。
14、配置文件的基本使用:首先可以下载我已经填好的一个基础模板https://by.paddypan.cn/config.yaml

这里根据前面填写的信息填上去就可以了,需要注意的是箭头地方,如果没有使用域名证书一定!要!有这一行,如果使用域名证书加密就要注释这一行。

其余的基本配置也做了一定说明但是一般可以不修改或者根据实际情况修改。
值得说明一下的是配置文件后面的基本路由规则

如:DOMAIN-SUFFIX,qq.com,PROXY
这个代表通配qq.com以及全部子域名都算在内(如lol.qq.com),proxy是走代理访问目标,direct是使用本地网络直连访问目标。简单说就是你是用代理服务器的IP去访问还是用你本机原始网络访问。当然如果客户端如果选择了全局访问那就都不会走这些规则。

IP-CIDR是IP段的通配。

这个是常见内网IP的配置,也就是说符合这个条件内的IP无论如何都是走直连网络。
14、客户端使用
我最常用的平台有Windows、MacOS、IOS、Android。
Windows/MacOS:因为两个都是非常好用桌面平台所以一起说明了,Github都有很多好用的客户端。我这里使用的是Clash For Windows,虽然作者已经删库了,但是Git上一样可以找到最后的发行版。

Windows端
举例,在配置选项中可以选择下载或者导入配置文件,就是上面的yaml文件。
然后在代理界面可以选择全局/规则/直连/脚本,一般如果你自己规则写的好那就可以选规则,懒人如果不像写规则可以直接全局然后根据需求开关。右侧小按钮可以测试网络联通性,绿色代表当前使用的节点。

最后在主界面打开SystemProxy系统代理开关即可。

值得说明的是CFW有一个我非常喜欢的功能,就是AllowLan,它可以让你局域网内所有用户都通过HTTP协议使用你的节点。比如我手机和电脑都在我家WIFI的情况下,电脑打开AllowLan,然后手机在Wifi配置上手动填写http代理地址为你的电脑IP,端口填写7890(CFW默认端口),然后重连wifi即可享受你电脑上的配置节点。记得要放行电脑上7890的防火墙。既然CFW这么强电脑就可以让家里几乎所有设备连接节点,那么也实现了全平台使用了,教程到此结束。🈲
那是不可能的,接下来IOS端,我使用的是小火箭,当然QX也很不错。两个都需要使用美区ID付费下载的,貌似是六七刀的样子。
IOS端

下载完成右上角加号选择订阅,URL填写你的配置文件地址即可一键读取你自己的所有配置,亦或者你根据实际协议类型手动一个一个加,也没毛病



连通性测试可以测试本机到服务器的延迟或者是否通路,全局路由类代理就是全局的意思,配置就是走规则,但是需要注意的是小火箭的规则不是用的你配置文件的规则,而是需要在他的软件里重新自己配置的规则。最后按钮连接,搞定。
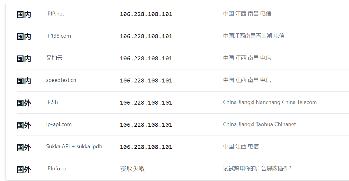
我一般常用的检测网络代理是否正常的网站


Android端
直接下载对应机型安装包即可。
同样是下载或导入配置文件

然后一键开启
